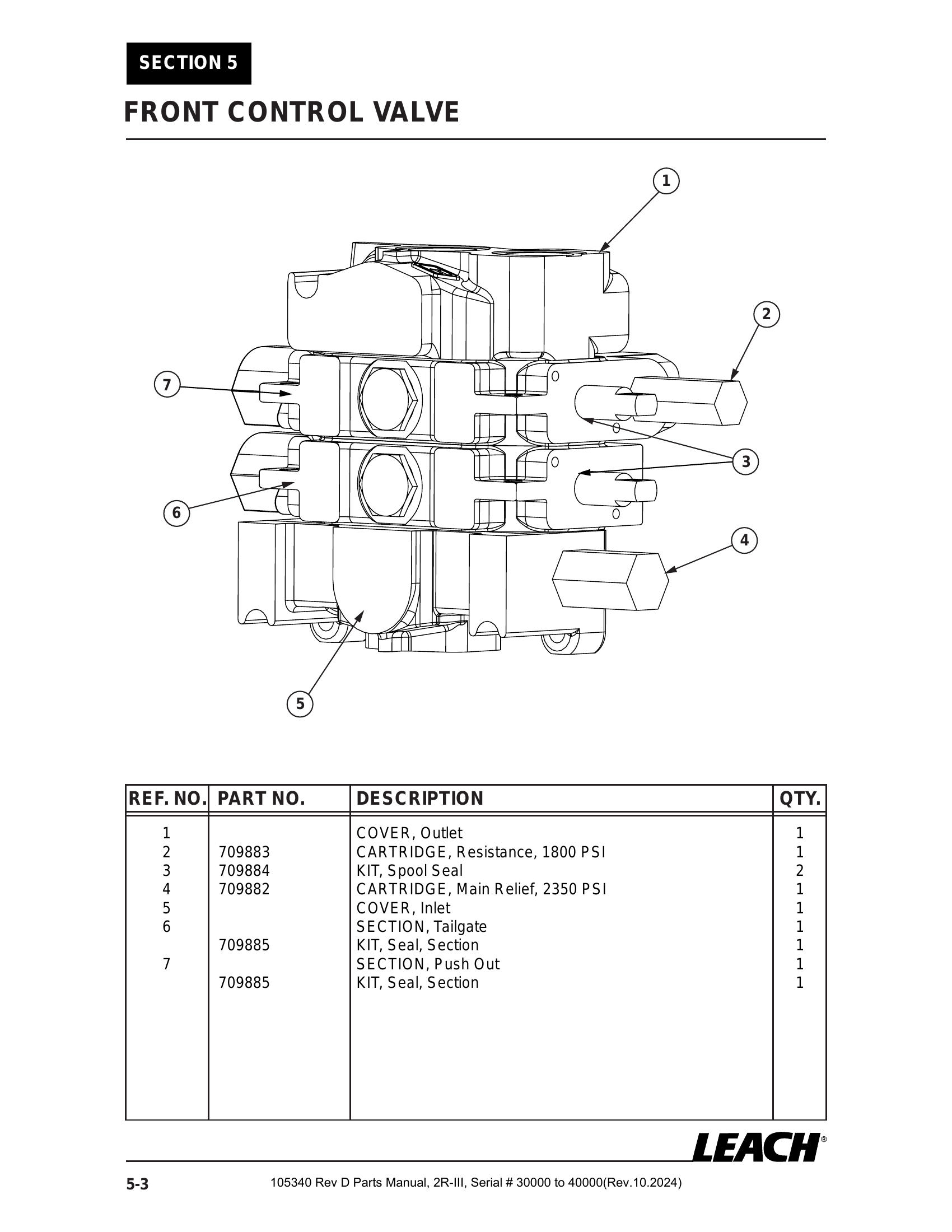
2R-III 30K/40K - PG 068 - Section 5 - FRONT CONTROL VALVE
Ref. No.
Item
Sugg Qty
Price
Quantity
Fullscreen zoom
View all products
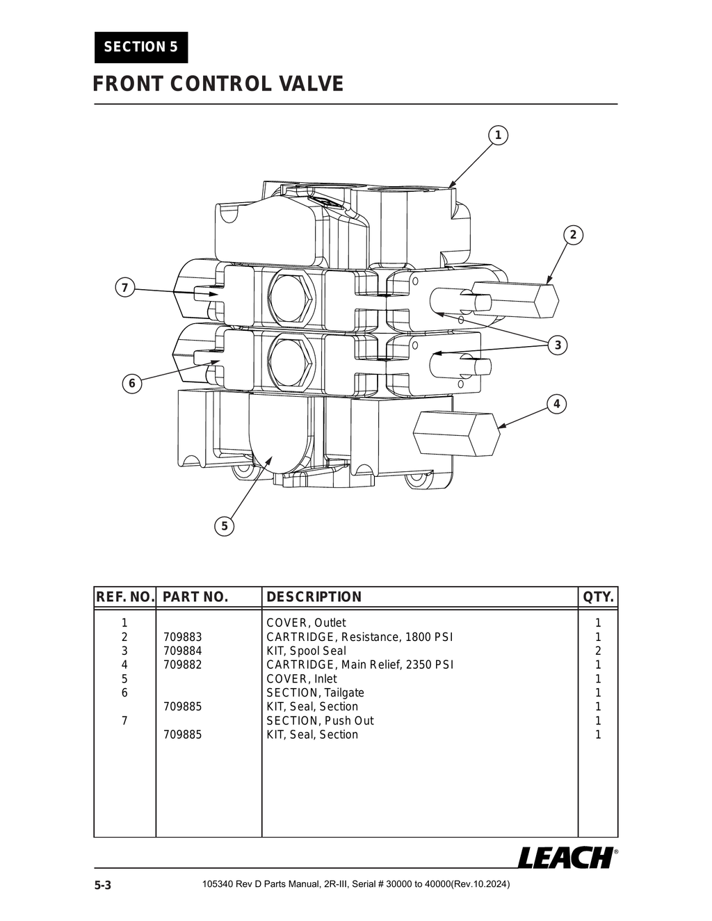
2R-III 30K/40K - PG 068 - Section 5 - FRONT CONTROL VALVE
Ref. No.
Item
Sugg Qty
Required number of pieces per Manufacturer specifications.
Price
Quantity
2
In stock
Out of stock
709883
CARTRIDGE, Resistance, 1800 PSI
1
Call for Pricing
In stock
Out of stock
2
In stock
Out of stock
709883
CARTRIDGE, Resistance, 1800 PSI
1
Call for Pricing
In stock
Out of stock
4
In stock
Out of stock
709882
CARTRIDGE, Main Relief, 2350 PSI
1
Call for Pricing
In stock
Out of stock
4
In stock
Out of stock
709882
CARTRIDGE, Main Relief, 2350 PSI
1
Call for Pricing
In stock
Out of stock