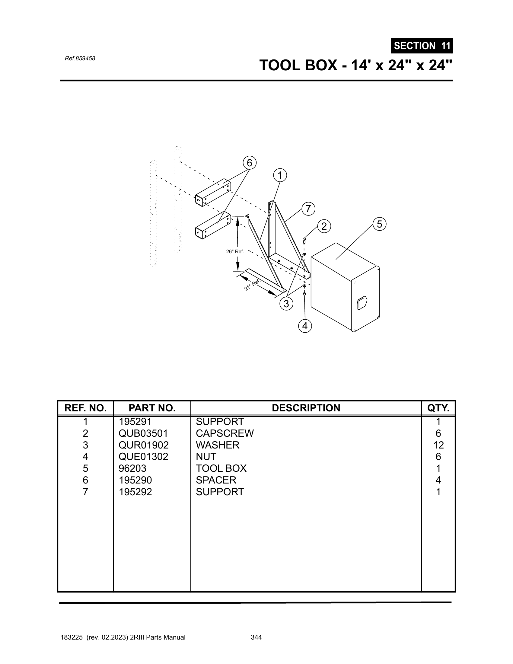
2R-III - PG 344 - SECTION 11 - TOOL BOX - 14" x 24" x 24"
Ref. No.
Item
Sugg Qty
Price
Quantity
Fullscreen zoom
View all products
2R-III - PG 344 - SECTION 11 - TOOL BOX - 14" x 24" x 24"
Ref. No.
Item
Sugg Qty
Required number of pieces per Manufacturer specifications.
Price
Quantity