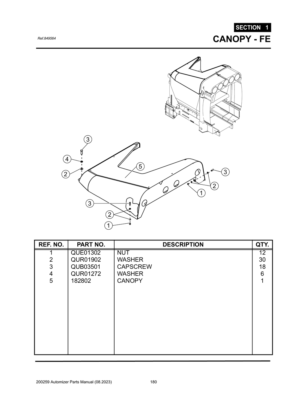
Automizer - PG 180 - Section 1 - CANOPY - FE - 849564

Automizer - PG 180 - Section 1 - CANOPY - FE - 849564

COMPONENTS

Select assembly
Automizer - PG 180 - Section 1 - CANOPY - FE - 849564
Fullscreen zoom
View all products
Automizer - PG 180 - Section 1 - CANOPY - FE - 849564