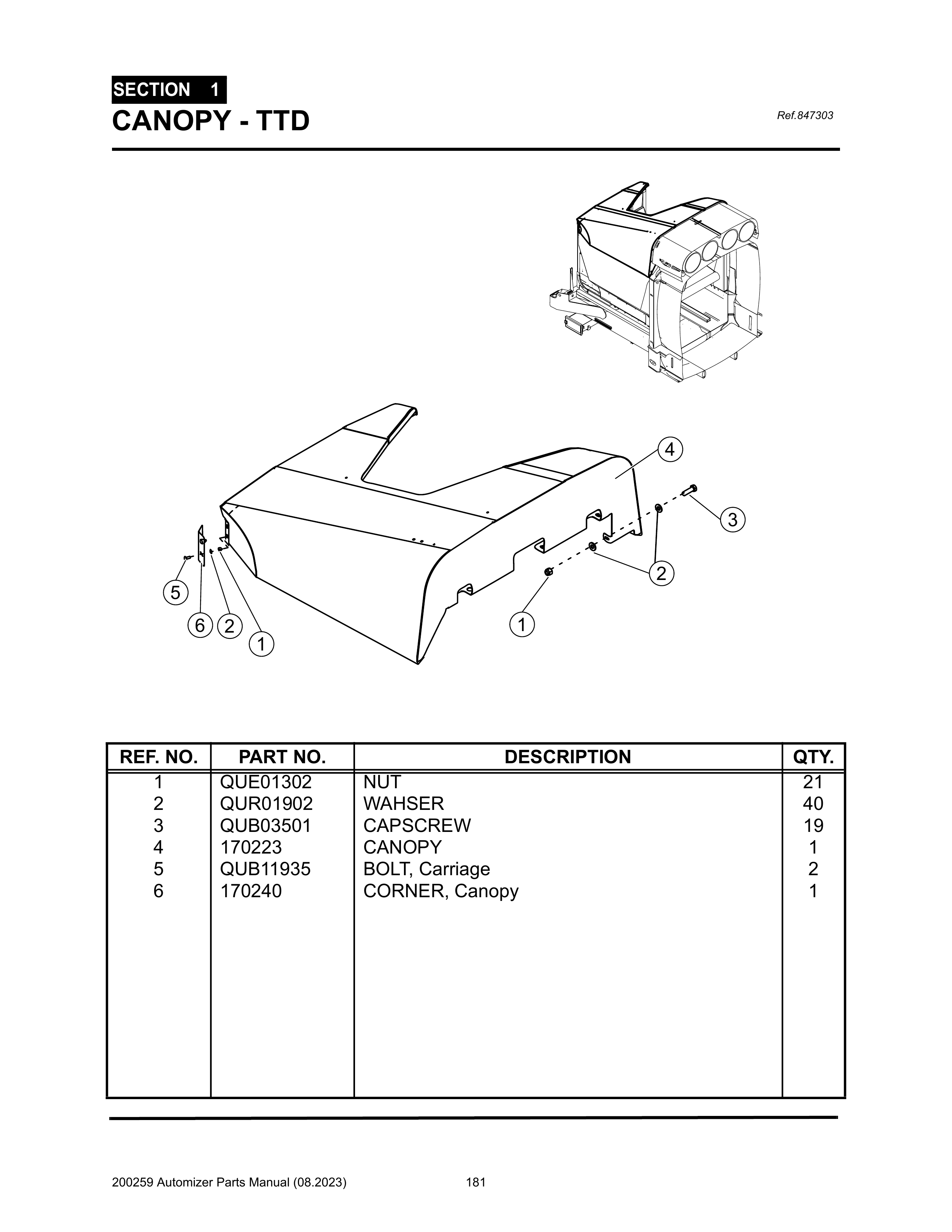
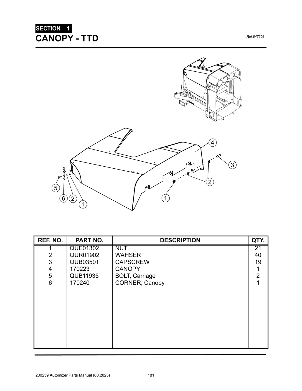
Automizer - PG 181 - Section 1 - CANOPY - TTD - 847303

Automizer - PG 181 - Section 1 - CANOPY - TTD - 847303

COMPONENTS

Select assembly
Automizer - PG 181 - Section 1 - CANOPY - TTD - 847303
Fullscreen zoom
View all products
Automizer - PG 181 - Section 1 - CANOPY - TTD - 847303