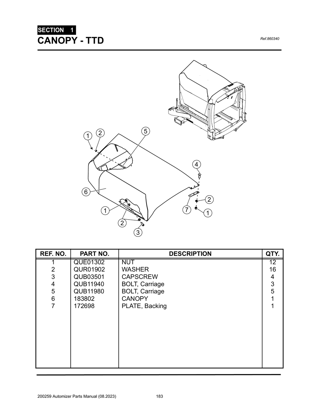
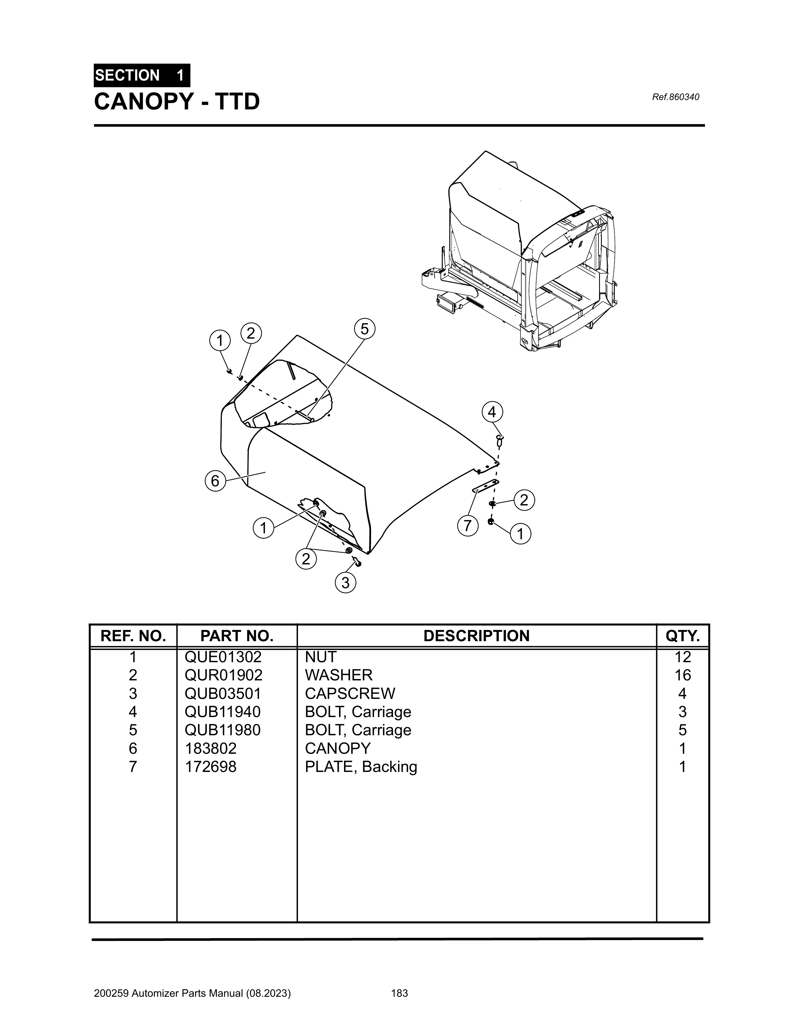
Automizer - PG 183 - Section 1 - CANOPY - TTD - 860340

Automizer - PG 183 - Section 1 - CANOPY - TTD - 860340

COMPONENTS

Select assembly
Automizer - PG 183 - Section 1 - CANOPY - TTD - 860340
Fullscreen zoom
View all products
Automizer - PG 183 - Section 1 - CANOPY - TTD - 860340