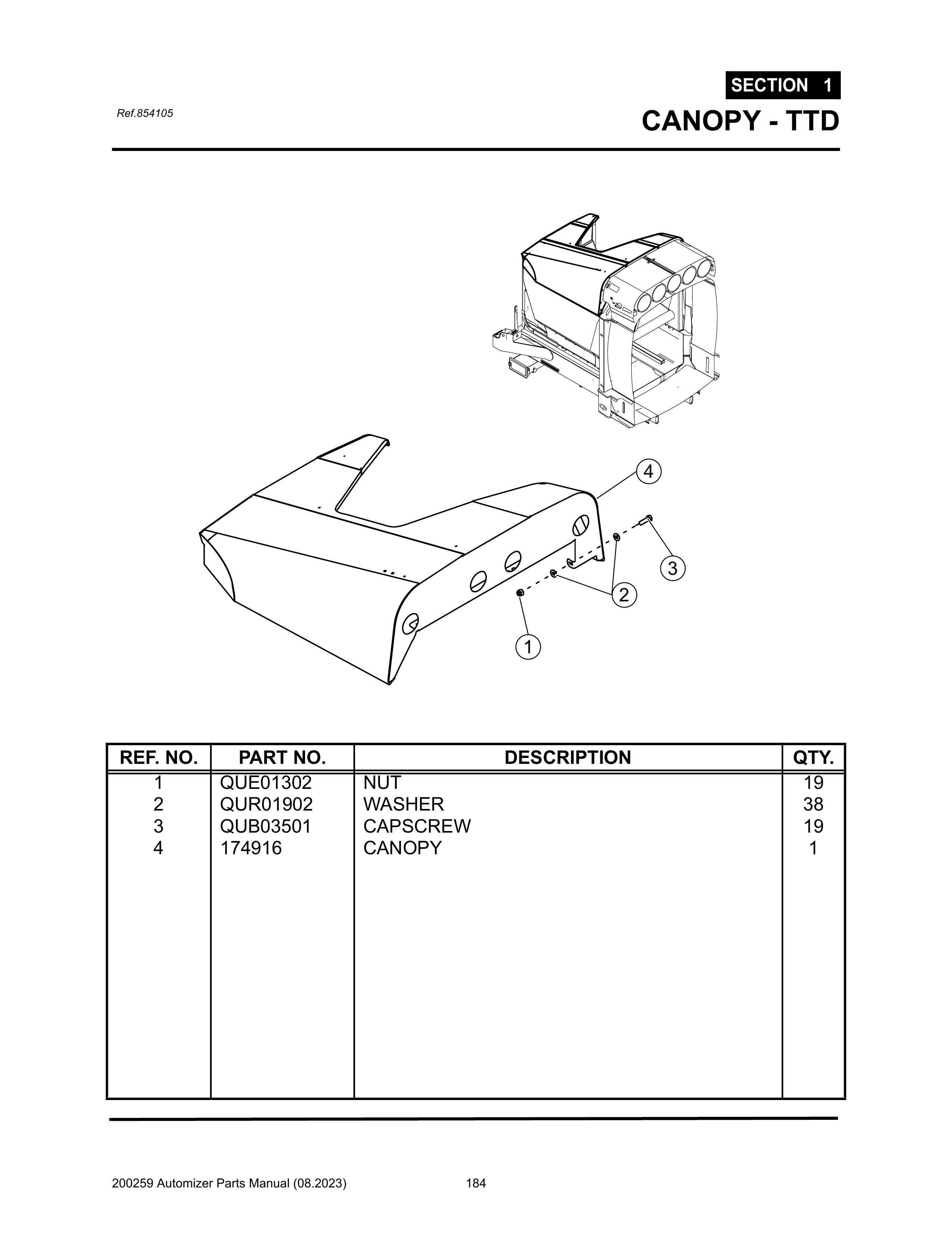
Automizer - PG 184 - Section 1 - CANOPY - TTD - 854105

Automizer - PG 184 - Section 1 - CANOPY - TTD - 854105

COMPONENTS

Select assembly
Automizer - PG 184 - Section 1 - CANOPY - TTD - 854105
Fullscreen zoom
View all products
Automizer - PG 184 - Section 1 - CANOPY - TTD - 854105