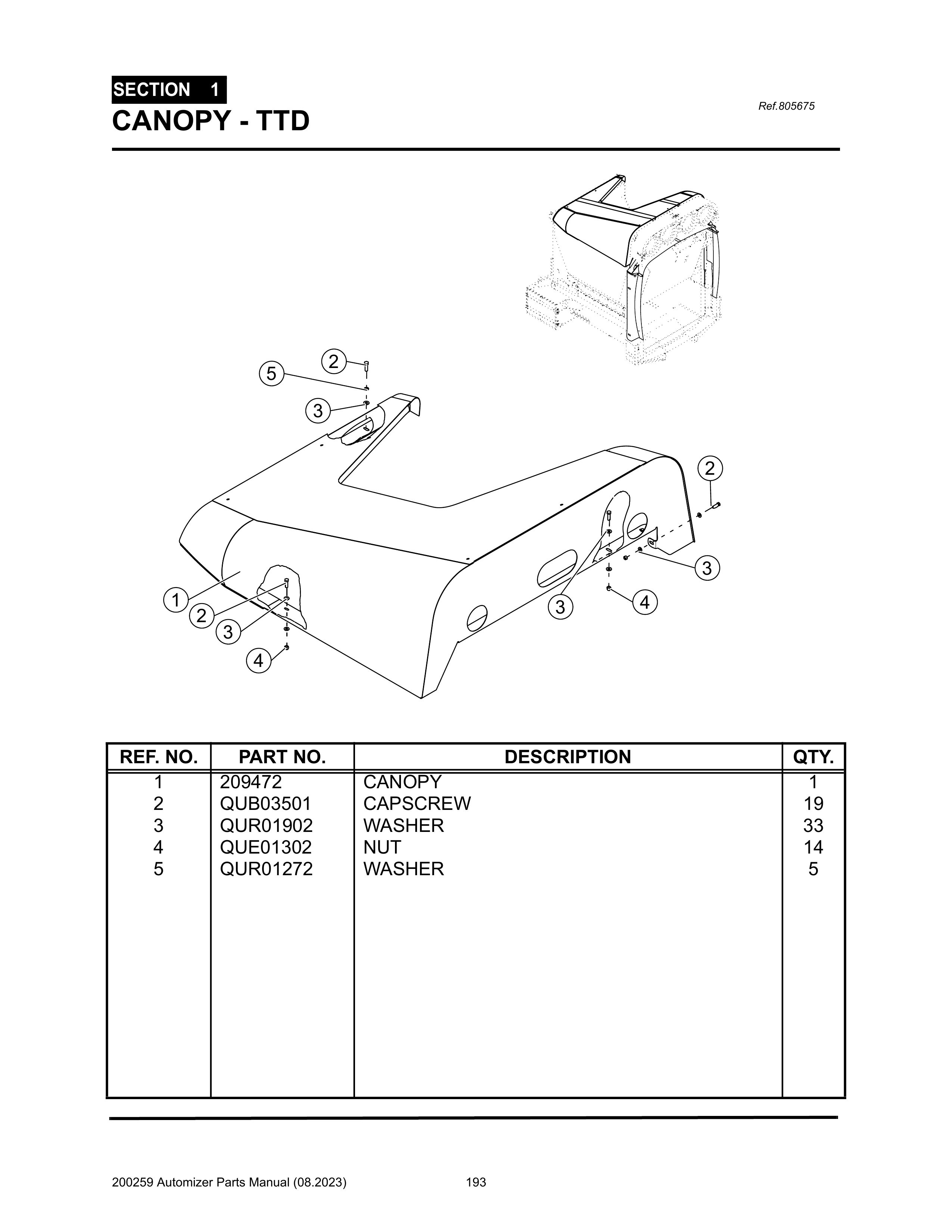
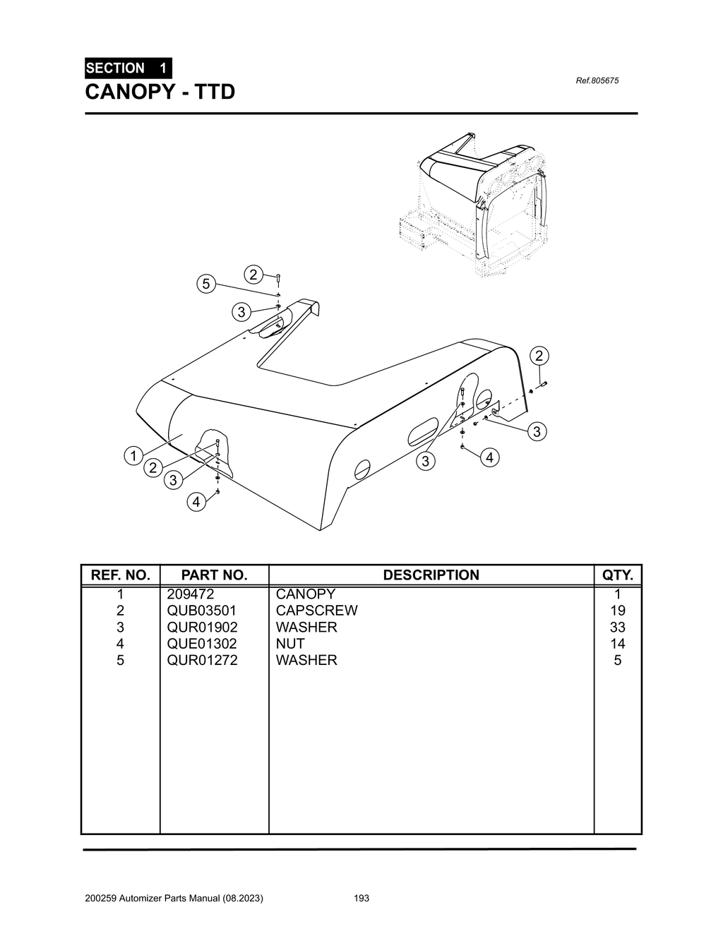
Automizer - PG 193 - Section 1 - CANOPY - TTD - 805675

Automizer - PG 193 - Section 1 - CANOPY - TTD - 805675

COMPONENTS

Select assembly
Automizer - PG 193 - Section 1 - CANOPY - TTD - 805675
Fullscreen zoom
View all products
Automizer - PG 193 - Section 1 - CANOPY - TTD - 805675