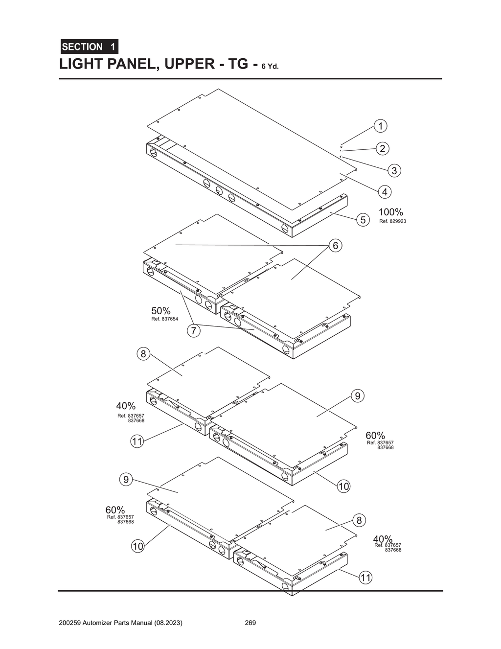
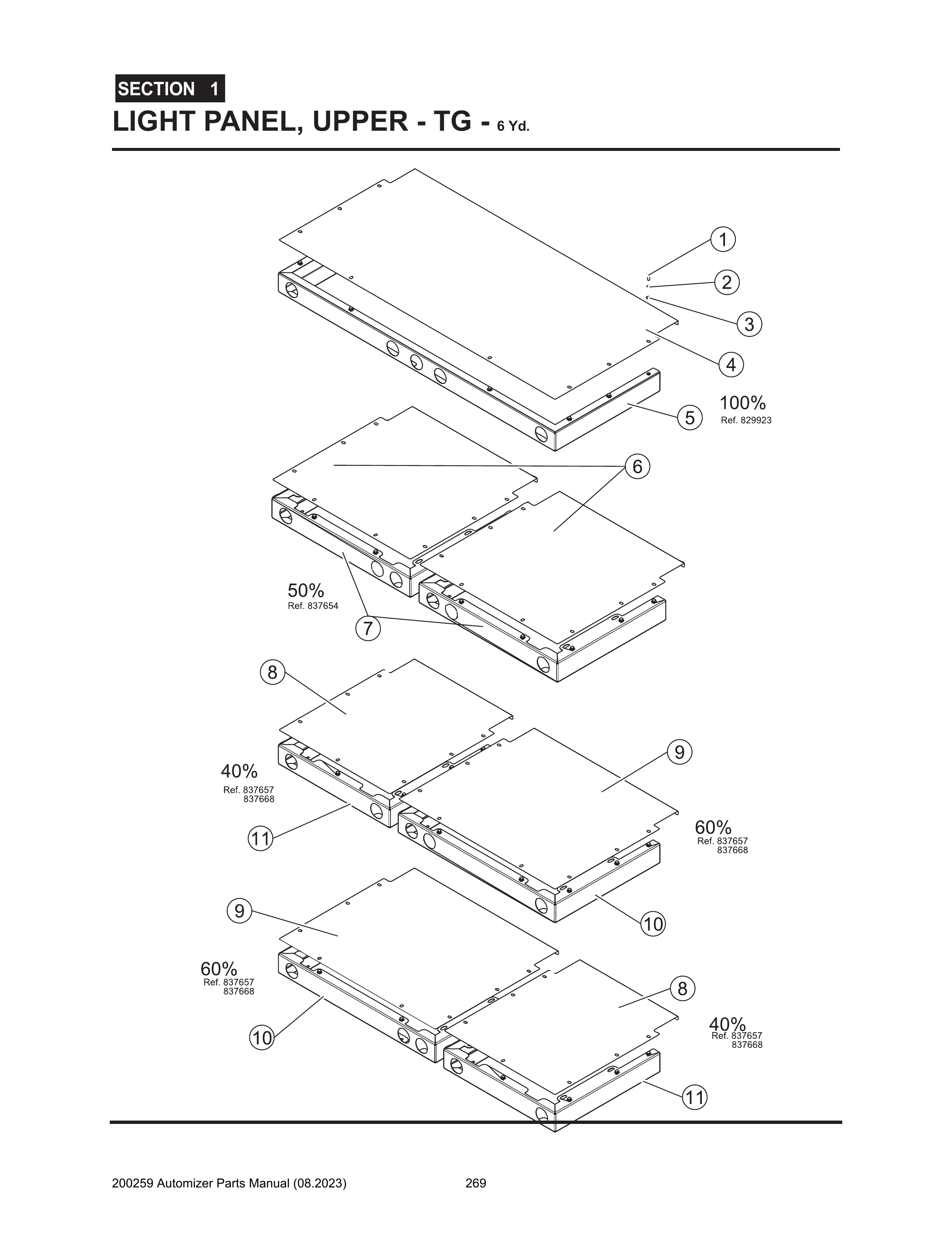
Automizer - PG 269 - Section 1 - LIGHT PANEL, UPPER - TG - 6 Yd.

Automizer - PG 269 - Section 1 - LIGHT PANEL, UPPER - TG - 6 Yd.

COMPONENTS

Select assembly
Automizer - PG 269 - Section 1 - LIGHT PANEL, UPPER - TG - 6 Yd.
Fullscreen zoom
View all products
Automizer - PG 269 - Section 1 - LIGHT PANEL, UPPER - TG - 6 Yd.