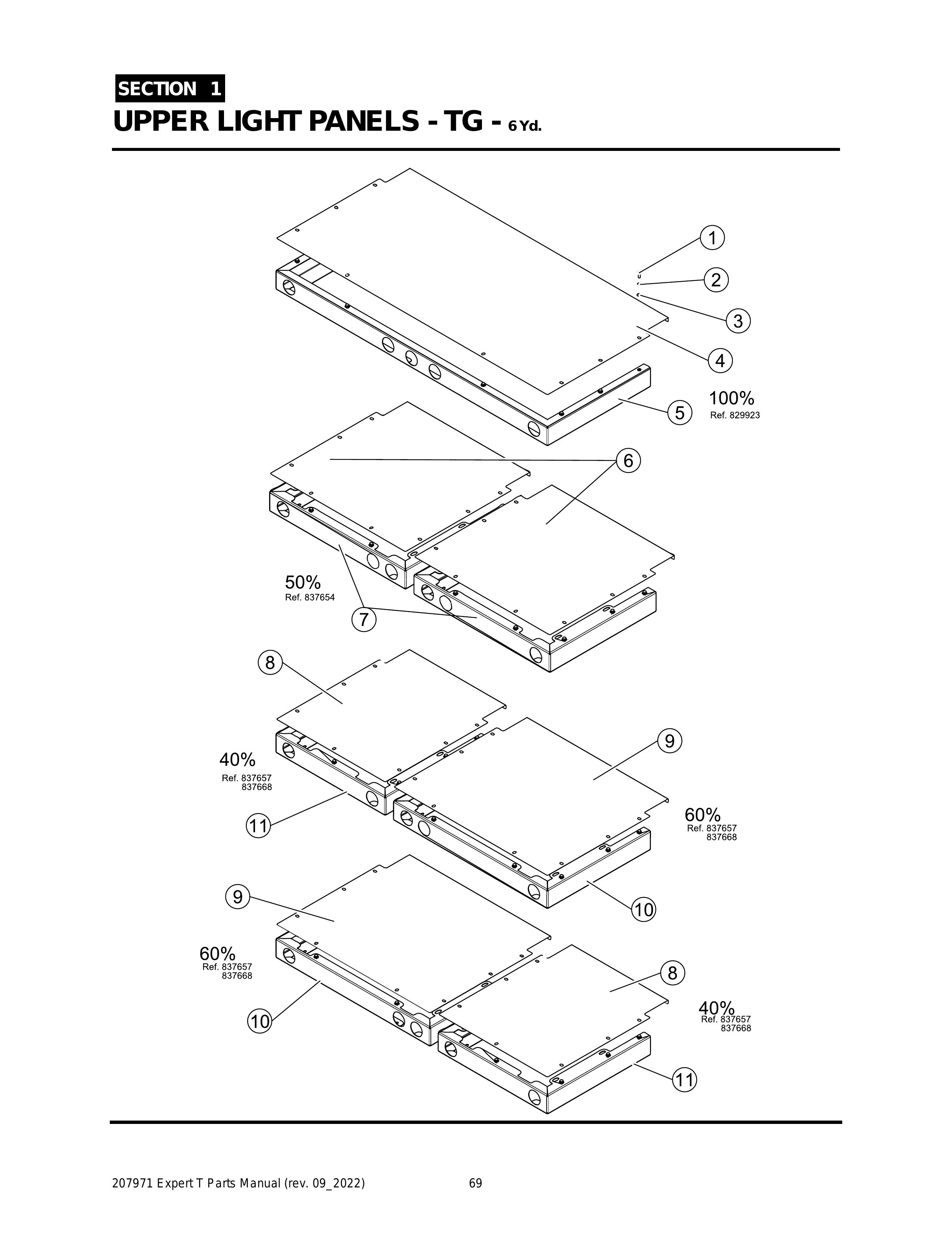
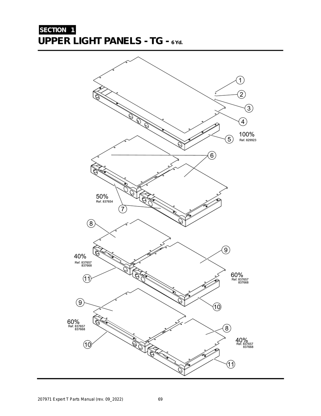
EXPERT - PG 069 - Section 1 - UPPER LIGHT PANELS - TG - 6 Yd.

EXPERT - PG 069 - Section 1 - UPPER LIGHT PANELS - TG - 6 Yd.

COMPONENTS

Select assembly
EXPERT - PG 069 - Section 1 - UPPER LIGHT PANELS - TG - 6 Yd.
Fullscreen zoom
View all products
EXPERT - PG 069 - Section 1 - UPPER LIGHT PANELS - TG - 6 Yd.