Wittke - All Models - PG 036 - Section 2 - MUDGUARDS
Ref. No.
Item
Sugg Qty
Price
Quantity
Fullscreen zoom
View all products
Wittke - All Models - PG 036 - Section 2 - MUDGUARDS
Ref. No.
Item
Sugg Qty
Required number of pieces per Manufacturer specifications.
Price
Quantity
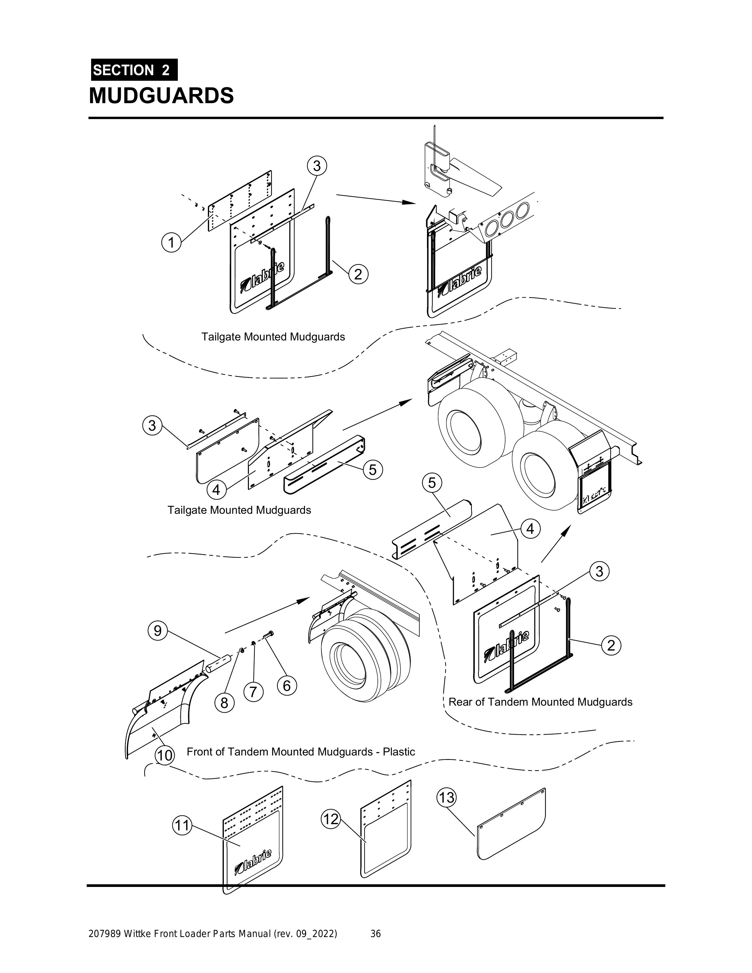
11
In stock
Out of stock
91021
GUARD, Rubber Adjustable - Labrie Logo
Call for Pricing
In stock
Out of stock
11
In stock
Out of stock
91021
GUARD, Rubber Adjustable - Labrie Logo
Call for Pricing
In stock
Out of stock
12
In stock
Out of stock
43694
GUARD, Rubber Adjustable - No Logo
Call for Pricing
In stock
Out of stock
12
In stock
Out of stock
43694
GUARD, Rubber Adjustable - No Logo
Call for Pricing
In stock
Out of stock
13
In stock
Out of stock
43699
GUARD, Rubber 10¾" Lg. - No Logo
Call for Pricing
In stock
Out of stock
13
In stock
Out of stock
43699
GUARD, Rubber 10¾" Lg. - No Logo
Call for Pricing
In stock
Out of stock