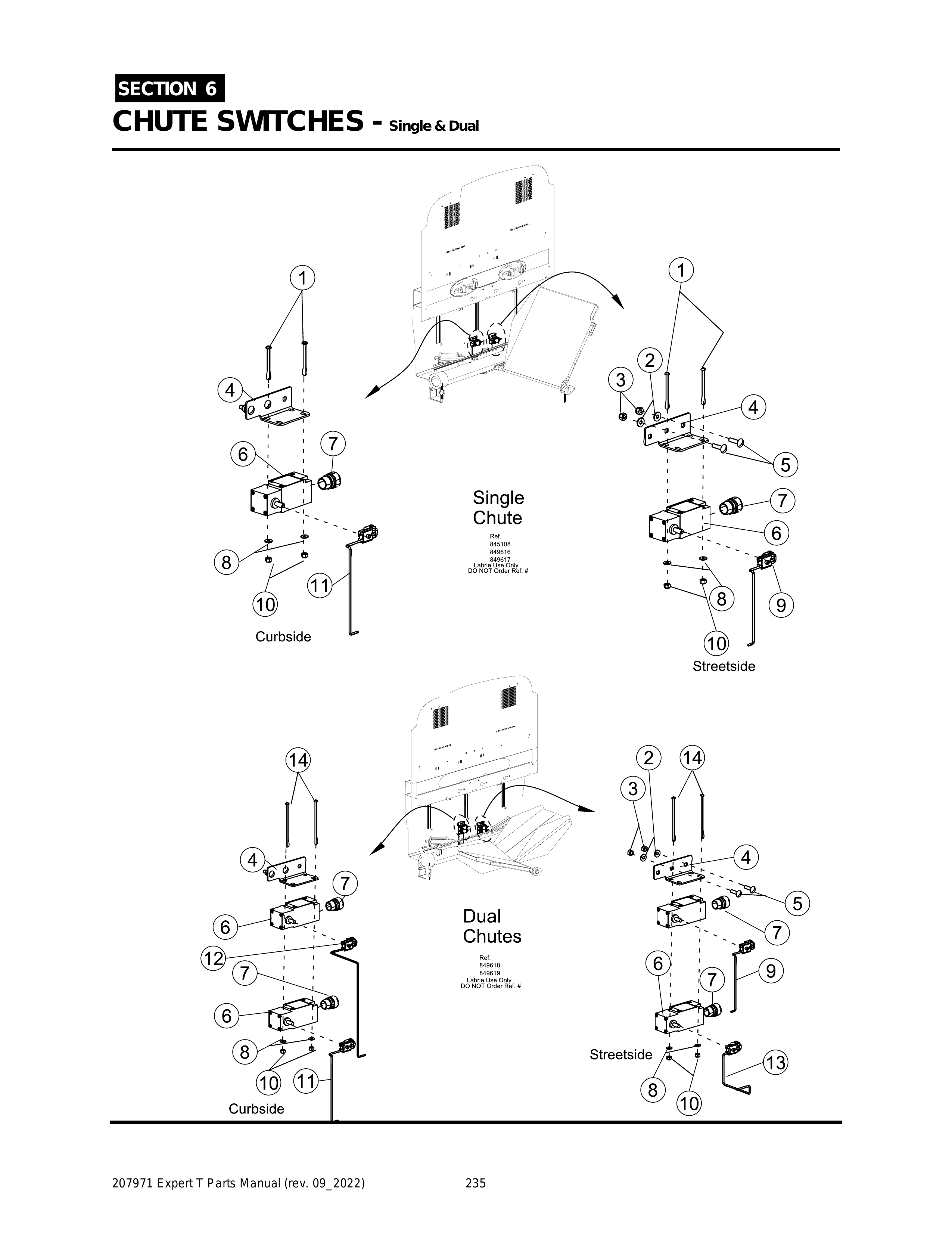
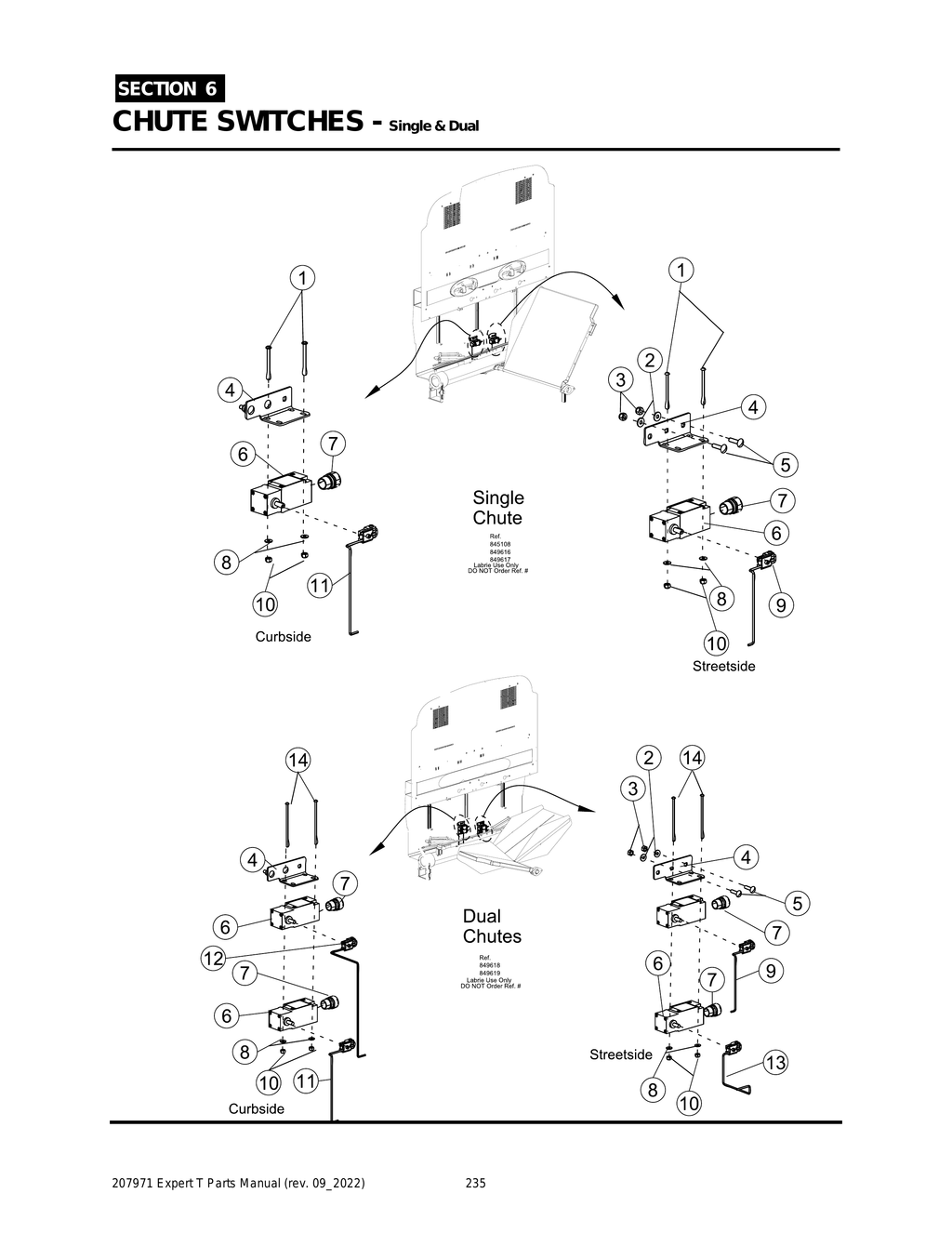
EXPERT - PG 235 - Section 6 - CHUTE SWITCHES - Single & Dual

EXPERT - PG 235 - Section 6 - CHUTE SWITCHES - Single & Dual

COMPONENTS

Select assembly
EXPERT - PG 235 - Section 6 - CHUTE SWITCHES - Single & Dual
Fullscreen zoom
View all products
EXPERT - PG 235 - Section 6 - CHUTE SWITCHES - Single & Dual